你是否曾想过,未来光纤配线架的维护会是什么样子?不再需要工程师们亲临现场,手动完成繁琐的接线操作,而是由智能机器人精准、高效地处理一切。这并非科幻场景,而是国际电联(ITU)发布的 ITU-T M.3368 建议书所描绘的未来。
核心挑战:传统ODF维护的困境
ODF是光通信网络中用于端接、连接和分配光缆的关键物理基础设施 。传统上,所有光纤跳接、改接或网络重构都需要维护人员亲临现场手动操作。这种模式不仅耗费大量的人力和时间成本 ,而且在日益密集和复杂的连接环境中,极易发生人为错误,另外,操作后的信息变更,经常缺失,导致光纤的连接信息不准确。因此,建立一套能够远程化、自动化、智能化的维护体系,成为业界迫切的需求。
什么是 ODF 智能维护?
传统的 ODF 维护模式依赖人工操作,耗时耗力,而且容易出错。ITU-T M.3368 提出的智能维护系统,希望采用自动化技术手段,彻底改变这一现状。
该建议书的核心在于引入了两个关键组件:
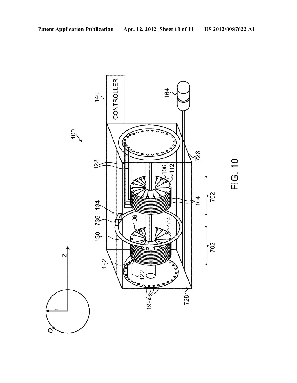
- 智能切换单元 (SHU) :一种能够替代人工完成 ODF 现场维护操作的设备。它通常由移动机械臂 (MMD)、控制软件 (CS) 和本地操作终端 (LOT) 组成。SHU 可以根据指令,自动执行端口定位、光纤连接与断开等操作。
- ODF 智能维护系统 (OSMS) :一个远程软件系统,负责向 SHU 发出维护指令并进行交互,从而实现 ODF 的现场智能维护和 SHU 管理。
这套系统能够显著减少 ODF 现场维护中的手动操作工作量,节省大量的维护成本和时间。

OSMS:ODF Smart Maintenance System
SHU:Smart Handover Unit
LOT:Local Operation Terminal
CS:Control Software
MMD:Mobile Mechanical Device
ODF 智能维护如何工作?
ODF 智能维护架构主要由两部分组成:位于现场通信机房的 ODF-SHU 组合,以及远程的 OSMS 。
- 任务下达 :OSMS 可以远程向多个 SHU 同时下达维护指令,并控制它们完成相应的 ODF 操作。
- 指令执行 :SHU 的控制软件接收并解析来自 OSMS 的指令,然后控制移动机械臂执行光纤连接和切换等操作。
- 信息同步 :SHU 的控制软件会自动记录 ODF 的光纤连接关系及其变化,并将这些信息同步到 OSMS,确保物理连接和数字记录的一致性。
- 资源管理 :OSMS 负责管理和维护由 SHU 报告的 ODF 光纤连接关系表,从而实现对整个网络光纤资源连接拓扑的管理。
这种协同工作模式实现了光纤连接的快速、精准切换,从而可以根据业务需求灵活地调整网络连接和数据关系。
智能维护的四大功能要求
ITU-T M.3368 建议书详细规定了 SHU 和 OSMS 的功能要求:
SHU 功能要求
- 维护指令解析 :SHU 必须能够解析 OSMS 或本地操作终端下达的指令,并发送给移动机械臂执行 。
- 光纤连接关系管理 :SHU 必须建立和维护一个 ODF 光纤连接关系表,并自动记录其变化 。
- 光纤连接自动切换 :SHU 必须支持根据维护指令自动建立光纤连接,并能精准完成光纤转移等操作。
- 光纤信息同步 :SHU 必须能将自身的配置信息、告警信息和光纤连接信息同步给 OSMS。
OSMS 功能要求
- SHU 配置管理 :OSMS 必须能够收集和管理 SHU 的状态信息和静态配置信息。
- 光纤资源管理 :OSMS 必须维护每个 ODF 的光纤连接关系表,并能及时更新整个网络的光纤资源连接拓扑 。
- 维护任务管理 :OSMS 必须支持维护任务的生成、管理、分发、反馈、审查和归档等功能。
- SHU 告警管理 :OSMS 必须能收集、存储、查询、分析和处理 SHU 的告警信息。
通过这套智能系统,光通信网络和数据中心的智能维护能力得到了显著提升。它彻底改变了传统的现场人工维护模式,为实现光纤网络的远程自动控制、在线监控和资源综合管理提供了强大的技术支持。
智能ODF的实践
建议书的发布并非空中楼阁,而是产业界多年探索、研发的结晶。如何有效的布放跳纤,避免形成“意大利面现象”(形容细线交织缠绕在一起的状态),是整套系统的难点和关键点。目前收集到的相关研究、产品简介如下:
- 2019年由北京邮电大学的杨正、魏世民等学者撰写的论文《Design and implementation of a small AODF》,发表于《The Journal of Engineering》。其核心目标是解决通信网络中光纤配线架(ODF)交叉连接这一尚未自动化的“痛点”,通过设计和实现一个 小型自动光纤配线架(AODF)原型 ,来降低运营商的运维成本并提升服务等级。论文的核心创新在于提出了一种新颖的结构模型和交叉连接方法,并成功制造了物理原型进行验证。

- TeliSwitch的自动光纤配线架 (AODF)。该解决方案集成了硬件和软件,降低跳纤错误的风险,并减少运营商的运维时间与成本,已有商用。 该种方式也是建议书列出的参考用例。
- 核心硬件:
- 圆形平台 (Circular Platforms): 用于有序管理进入机柜的光缆,是系统的基础结构。
- 微型滑轮 (Mini-Pulleys): 精确控制跳线(patch cords)的移动。
- 机械臂 (Robotic Arm): 引导跳线,确保从输入到输出的连接过程完全可复制且高度可靠。
- 专利技术: AODF 采用了 TeliSwitch 的专利技术,能够在 5分钟内 远程自动完成一次连接变更,极大地提升了效率。
- 集成化功能: 圆形平台可配备专用模块,直接进行 OTDR(光时域反射仪)测量 。这使得运营商可以在连接前或维护时段,远程检测线路的连通性和质量,确保线路正常。

- 武汉赫尔墨斯的光纤机器人HAI ROBOT,是一款智能机器人光纤物理层交换机,使物理光纤连接变得自动、远程、 快速且无需人工现场干预。提供卓越的光学性能,低插入损耗,对传输协议、波长或者带宽速率透明。 全光网络架构,支持单纤双向,采用可视化的物理连接方式,支持级联构建大规模的智能网络。

